• Tik internetu
Wacker rammers bs uždegimo žvakė l86c čempionas
  • Wacker rammers bs uždegimo žvakė l86c čempionas
  • Wacker rammers bs uždegimo žvakė l86c čempionas

Wacker rammers bs uždegimo žvakė l86c čempionas

15014280166038
15,72 €
Su mokesčiais
pristatymas per 5-9 darbo dienas
Kiekis

Aprašymas
WACKER BS plaktuvai uždegimo žvakė L86C CHAMPIONOIPrekės aprašymas:

Gamintojas: CHAMPION.

Katalogo numeris: 0114802

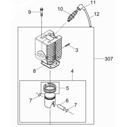
Prekės Nr.10 iš katalogo kortelės (antra nuotrauka)

Pritaikymas: WACKER lydinio plaktuvai su WM80 varikliu

Originali uždegimo žvakė, visiškai nauja.

Prekė detaliau
15014280166038
Nauja

Charakteristikos

Detalės numeris
0114802

Specifinė nuoroda

MPN
0114802