• Tik internetu
Yanmar l40 l100 išleidimo spyruoklė 114250 03640
  • Yanmar l40 l100 išleidimo spyruoklė 114250 03640
  • Yanmar l40 l100 išleidimo spyruoklė 114250 03640

Yanmar l40 l100 išleidimo spyruoklė 114250 03640

15014280165509
15,72 €
Su mokesčiais
pristatymas per 5-9 darbo dienas
Kiekis

Aprašymas
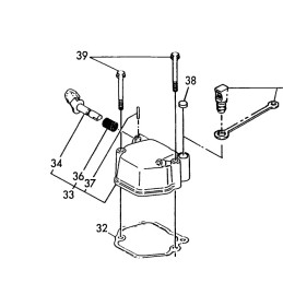
YANMAR L40 L100 reljefinė spyruoklė 114250-03640 Prekės aprašymas:

Gamintojas - YANMAR.

Katalogo numeris: 114250-03640

Prekė Nr.36 iš katalogo kortelės (antra nuotrauka)

Naudojimas: YANMAR L serijos dyzeliniai varikliai Originali dalis,visiškai nauja.

Prekė detaliau
15014280165509
Nauja

Charakteristikos

Detalės numeris
114250-03640
Originalus Detalės numeris
114250-03640

Specifinė nuoroda

MPN
114250-03640