• Tik internetu
Hatz 1d60 1d81 svirties veleno sandariklis 04048900
  • Hatz 1d60 1d81 svirties veleno sandariklis 04048900
  • Hatz 1d60 1d81 svirties veleno sandariklis 04048900

Hatz 1d60 1d81 svirties veleno sandariklis 04048900

15014280166186
12,59 €
Su mokesčiais
pristatymas per 5-9 darbo dienas
Kiekis

Aprašymas
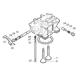
HATZ 1D60 1D81 svirties veleno sandariklis 04048900 Prekės aprašymas:

Gamintojas - Vokietijos įmonė HATZ.

Katalogo numeris: 04048900

Prekė Nr.28 iš katalogo kortelės (antra nuotrauka)

Taikymas: HATZ 1D60 1D81 variklis Originali tarpinė, visiškai nauja.

Prekė detaliau
15014280166186
Nauja

Charakteristikos

Detalės numeris
04048900

Specifinė nuoroda

MPN
04048900