• Tik internetu
Hatz 1d41 1d81 o žiedo tepimo vamzdeliai 50330100
  • Hatz 1d41 1d81 o žiedo tepimo vamzdeliai 50330100
  • Hatz 1d41 1d81 o žiedo tepimo vamzdeliai 50330100

Hatz 1d41 1d81 o žiedo tepimo vamzdeliai 50330100

15014280166346
11,80 €
Su mokesčiais
pristatymas per 5-9 darbo dienas
Kiekis

Aprašymas
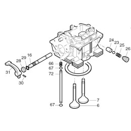
HATZ 1D41 1D50 1D81 tepimo vamzdelis O-ring 50330100 Prekės aprašymas:

Gamintojas - Vokietijos įmonė HATZ.

Katalogo numeris: 50330100

Prekė Nr.67 iš katalogo kortelės (antra nuotrauka)

Taikymas: HATZ varikliai 1D30 1D41 1D50 1D60 1D81 1D90

O žiedas visiškai naujas.

Prekė detaliau
15014280166346
Nauja

Charakteristikos

Detalės numeris
50330100
Originalus Detalės numeris
50330100

Specifinė nuoroda

MPN
50330100