• Tik internetu
Hatz serijos 1d užrakto varžtų kovos 01245200
  • Hatz serijos 1d užrakto varžtų kovos 01245200
  • Hatz serijos 1d užrakto varžtų kovos 01245200

Hatz serijos 1d užrakto varžtų kovos 01245200

15014280166011
37,72 €
Su mokesčiais
pristatymas per 5-9 darbo dienas
Kiekis

Aprašymas
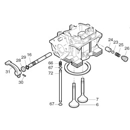
HATZ serijos 1D veleno fiksavimo varžtas 01245200 Prekės aprašymas:

Gamintojas - Vokietijos įmonė HATZ.

Katalogo numeris: 01245200

Prekė Nr.26 iš katalogo kortelės (antra nuotrauka)

Taikymas: HATZ variklis 1D30 1D40 1D41 1D50 1D60 1D81 1D90

Originali dalis,visiškai nauja.

Prekė detaliau
15014280166011
Nauja

Charakteristikos

Detalės numeris
01245200
Originalus Detalės numeris
01245200

Specifinė nuoroda

MPN
01245200