• Tik internetu
Hatz serijos 1d kamuolio užrakto kova 50123800
  • Hatz serijos 1d kamuolio užrakto kova 50123800
  • Hatz serijos 1d kamuolio užrakto kova 50123800

Hatz serijos 1d kamuolio užrakto kova 50123800

15014280166740
12,59 €
Su mokesčiais
pristatymas per 5-9 darbo dienas
Kiekis

Aprašymas
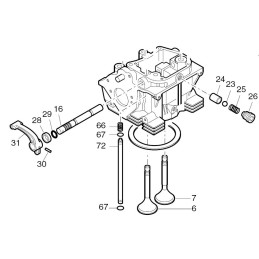
HATZ serijos 1D ritininis užrakto rutulys 50123800 Prekės aprašymas:

Gamintojas - Vokietijos įmonė HATZ.

Katalogo numeris: 50123800

Prekė Nr.23 iš katalogo kortelės (antra nuotrauka)

Taikymas: HATZ variklis 1D30 1D40 1D41 1D50 1D60 1D81 1D90

Originali dalis,visiškai nauja.

Prekė detaliau
15014280166740
Nauja

Charakteristikos

Detalės numeris
50123800
Originalus Detalės numeris
50123800

Specifinė nuoroda

MPN
50123800