• Tik internetu
Hatz 1b20 1b30 bako ventiliacijos anga 01534900
  • Hatz 1b20 1b30 bako ventiliacijos anga 01534900
  • Hatz 1b20 1b30 bako ventiliacijos anga 01534900

Hatz 1b20 1b30 bako ventiliacijos anga 01534900

15014358214912
37,22 €
Su mokesčiais
pristatymas per 5-9 darbo dienas
Kiekis

Aprašymas
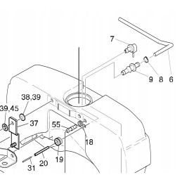
HATZ 1B20 1B30 1B40 bako anga 01534900

Prekės aprašymas:

Gamintojas - Vokietijos įmonė HATZ.

Katalogo numeris: 01534900

Taikymas: HATZ varikliai 1B20 1B30 1B40 1B50

Prekė Nr.7 iš katalogo kortelės

Originali dalis,visiškai nauja.

Kaina nurodyta už vieną vnt.

Prekė detaliau
15014358214912
Nauja

Charakteristikos

Detalės numeris
01534900
Originalus Detalės numeris
01534900

Specifinė nuoroda

MPN
01534900