• Tik internetu
Hatz 1b20 1b30 bako guma 50440900
  • Hatz 1b20 1b30 bako guma 50440900
  • Hatz 1b20 1b30 bako guma 50440900

Hatz 1b20 1b30 bako guma 50440900

15014280166737
17,28 €
Su mokesčiais
pristatymas per 5-9 darbo dienas
Kiekis

Aprašymas
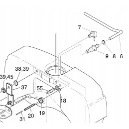
HATZ 1B20 1B30 bako ventiliacijos guma 50440900

Prekės aprašymas:

Gamintojas - Vokietijos įmonė HATZ.

Katalogo numeris: 50440900

Taikymas: HATZ varikliai 1B20 1B30 1B40 1B50

Prekė Nr.19 iš katalogo kortelės

Originali dalis,visiškai nauja.

Kaina nurodyta už vieną vnt.

Prekė detaliau
15014280166737
Nauja

Charakteristikos

Detalės numeris
50440900
Originalus Detalės numeris
50440900

Specifinė nuoroda

MPN
50440900