• Tik internetu
Wacker ct trapecinis diržas 0089632
  • Wacker ct trapecinis diržas 0089632
  • Wacker ct trapecinis diržas 0089632

Wacker ct trapecinis diržas 0089632

15014280166282
25,82 €
Su mokesčiais
pristatymas per 5-9 darbo dienas
Kiekis

Aprašymas
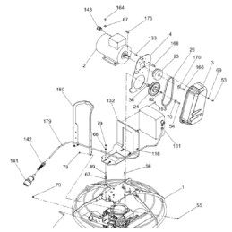
WACKER CT V formos diržas 0089632 Prekės aprašymas:

Gamintojas - Vokietijos įmonė WACKER

Katalogo numeris: 0089632

Prekė Nr.26 iš katalogo kortelės (antra nuotrauka)

Naudojimas: WACKER mentele serija CT36-400E, CT36-5A, CT36-6, CT48AGP,CT48AGP-E, CT48AGT-E, CT48AGT

Visiškai naujas diržas.

Prekė detaliau
15014280166282
Nauja

Charakteristikos

Detalės numeris
0089632

Specifinė nuoroda

MPN
0089632