• Tik internetu
Yanmar l40 l100 reguliatoriaus spyruoklė 114250 66200
  • Yanmar l40 l100 reguliatoriaus spyruoklė 114250 66200
  • Yanmar l40 l100 reguliatoriaus spyruoklė 114250 66200

Yanmar l40 l100 reguliatoriaus spyruoklė 114250 66200

15014280165358
27,01 €
Su mokesčiais
pristatymas per 5-9 darbo dienas
Kiekis

Aprašymas
YANMAR L40 L100 reguliavimo spyruoklė 114250-66200

Prekės aprašymas:

Gamintojas - YANMAR.

Katalogo numeris: 114250-66200

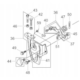
Prekė Nr.51 iš katalogo kortelės (antra nuotrauka)

Taikymas: Yanmar L40 L48 L60 L70 L90 L100 serijos varikliai, WACKER DPU4045Y tankintuvas

Originali dalis,visiškai nauja.

Prekė detaliau
15014280165358
Nauja

Charakteristikos

Detalės numeris
114250-66200
Originalus Detalės numeris
114250-66200

Specifinė nuoroda

MPN
114250-66200