• Tik internetu
Yanmar l40 l100 reguliatoriaus spyruoklė 114252 66252
  • Yanmar l40 l100 reguliatoriaus spyruoklė 114252 66252
  • Yanmar l40 l100 reguliatoriaus spyruoklė 114252 66252

Yanmar l40 l100 reguliatoriaus spyruoklė 114252 66252

15014280165729
21,98 €
Su mokesčiais
pristatymas per 5-9 darbo dienas
Kiekis

Aprašymas
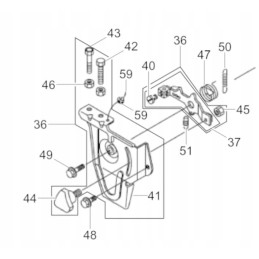
YANMAR L40 L100 reguliavimo spyruoklė 114252-66252

Prekės aprašymas:

Gamintojas - YANMAR.

Katalogo numeris: 114252-66252

Prekė Nr.47 iš katalogo kortelės (antra nuotrauka)

Taikymas: Yanmar L40 L48 L60 L70 L90 L100 serijos varikliai, WACKER DPU4045Y serijos tankintuvai

Originali dalis,visiškai nauja.

Prekė detaliau
15014280165729
Nauja

Charakteristikos

Detalės numeris
114252-66252
Originalus Detalės numeris
114252-66252

Specifinė nuoroda

MPN
114252-66252