• Tik internetu
Wacker ct vpg trapecinis diržas 0088866
  • Wacker ct vpg trapecinis diržas 0088866
  • Wacker ct vpg trapecinis diržas 0088866
  • Wacker ct vpg trapecinis diržas 0088866

Wacker ct vpg trapecinis diržas 0088866

15014280165636
30,73 €
Su mokesčiais
pristatymas per 5-9 darbo dienas
Kiekis

Aprašymas
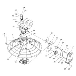
WACKER CT VPG V formos diržas 0088866 Prekės aprašymas:

Gamintojas - Vokietijos įmonė WACKER

Katalogo numeris: 0088866

Prekė Nr.26 iš katalogo kortelės (CT - antra nuotrauka) ir Nr.7 iš katalogo kortelės (VPG - trečia nuotrauka)

Naudojimas: CT36-8A, CT36-9, CT48ADP, CT48ADP-E, CT48ADT, CT48ADT-E serijos WACKER mentele ir WACKER VPG165, VPG170

Visiškai naujas diržas.

Prekė detaliau
15014280165636
Nauja

Charakteristikos

Detalės numeris
0088866

Specifinė nuoroda

MPN
0088866