• Tik internetu
Pakabos kaištis 28x97 mm 2 kategorija
  • Pakabos kaištis 28x97 mm 2 kategorija
  • Pakabos kaištis 28x97 mm 2 kategorija

Pakabos kaištis 28x97 mm 2 kategorija

15013833166711
Kramp
23,16 €
Su mokesčiais
pristatymas per 5-9 darbo dienas
Kiekis

Aprašymas
Pakabos kaištis 28x97 mm kat.2

Dalies numeris: K. TL150683

EAN:

Vienetas: Art

Taikymas: Trikampių sujungimas

Savybės: Cinkuotas

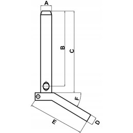
Techninė informacija: nurodytas ilgis reiškia atstumą tarp apatinės kaiščio pusės ir rankenos A,D Kaiščio išorinis skersmuo: 28 mm Kategorija: 2

Bendras kaiščio ilgis: 106 mm Susideda iš: Su grandine ir sulankstomu kaiščiu

Ilgis: 97mm

B Skylės atstumas nuo galvos: 97 mm Skylės skersmuo: 9mm

Prekė detaliau
Kramp
15013833166711
Nauja

Charakteristikos

Gamintojas
Kramp
Detalės numeris
K. TL150683

Specifinė nuoroda

MPN
K. TL150683