• Tik internetu
Pakabos kaištis 25x90mm 2 kategorija
  • Pakabos kaištis 25x90mm 2 kategorija
  • Pakabos kaištis 25x90mm 2 kategorija

Pakabos kaištis 25x90mm 2 kategorija

15013120991027
AE
26,99 €
Su mokesčiais
pristatymas per 5-9 darbo dienas
Kiekis

Aprašymas
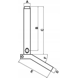
Pakabos kaištis 25x90 mm kat.2 Parametrai

Dalies numeris: TL150682

Vienetas: gabalas

Ypatybės: - Cinkuotas

Susideda iš: - Su grandine ir kaiščiu

Išorinis kaiščio skersmuo [A,D]: 25 mm

Kategorija: 2

Bendras kaiščio ilgis: 100 mm

Ilgis [C]: 90 mm

Atstumas nuo skylės iki galvutės [B]: 90 mm

Skylės skersmuo: 9 mm

Paraiška

- Jungiamieji trikampiai

Techninė informacija

- Nurodytas ilgis reiškia atstumą tarp apatinės kaiščio pusės ir rankenos

Prekė detaliau
AE
15013120991027
Nauja

Charakteristikos

Gamintojas
AE
Detalės numeris
TL150682
Originalus Detalės numeris
TL150682
Atsarginių dalių numeriai
TL150682

Specifinė nuoroda

MPN
TL150682