• Tik internetu
Strautmann kairiojo segmento peilis
  • Strautmann kairiojo segmento peilis
  • Strautmann kairiojo segmento peilis
  • Strautmann kairiojo segmento peilis

Strautmann kairiojo segmento peilis

15013927987571
62,54 €
Su mokesčiais
pristatymas per 5-9 darbo dienas
Kiekis

Aprašymas
Strautmann kairiojo segmento peilis

Dalies numeris: K. 60503502Z

EAN:

Vienetas: Art

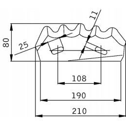
Ilgis: 210mm

Plotis: 80mm

Storis: 5mm

Atstumas tarp montavimo angų: 108 mm Skylės ilgis: 25mm

Skylės plotis: 11mm

OE nuorodos numeris: 605.03.502

Tinka mašinai/transporto priemonei: Strautmann

Prekė detaliau
15013927987571
Nauja

Charakteristikos

Detalės numeris
K. 60503502Z

Specifinė nuoroda

MPN
K. 60503502Z