• Tik internetu
Hc cargo starteris 113655
  • Hc cargo starteris 113655
  • Hc cargo starteris 113655
  • Hc cargo starteris 113655
  • Hc cargo starteris 113655
  • Hc cargo starteris 113655

Hc cargo starteris 113655

15014451187896
223,86 €
Su mokesčiais
pristatymas per 5-9 darbo dienas
Kiekis

Aprašymas
Prekė: Starteris

Pasiūlymas galioja (kiekis): 1 vnt

Katalogo numeris: CAR113655

Būklė: Originalios prekės, visiškai naujos ir supakuotos

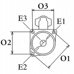
Techninė informacija 113655 Srieginių skylių skaičius: 0

Dantų skaičius: 10

Sukimosi kryptis: pagal laikrodžio rodyklę

Montavimo angų skaičius: 3

Nominali galia [kW]: 3,0

Įtampa [V]: 12

Starterio tipas: su reduktoriumi

Tarpas – pagrindinis nustatymas [mm]: 30,50

Ø flanšas [mm]: 89,00

AS-PL S4030

ERA 220702

LUCAS LRS02425

Dalis rinkitės pagal TecAlliance katalogą ir ASO VIN katalogą Viename automobilio modelyje gali būti skirtingi tam tikros detalės variantai. Jei kyla neaiškumų dėl teisingo dalių pasirinkimo, rekomenduojama atlikti patikrinimą pagal: VIN numeris

Prekė detaliau
15014451187896
Nauja

Charakteristikos

Gamintojas
HC Cargo
Detalės numeris
2873K405
Mašinos tipas
Kranas, kranas, keltuvas, ekskavatorius, ekskavatorius, krautuvas, trupintuvas, krautuvas, asfalto klotuvas, greideris, buldozeris, volas, savivartis, tankintuvas
Mašinos prekės ženklas
JCB

Specifinė nuoroda

MPN
2873K405